John Deere Lx188 Belt Diagram / Xw 4355 john deere x300 drive belt diagram download diagram.

John Deere Lx188 Belt Diagram / Xw 4355 john deere x300 drive belt diagram download diagram.. A diagram should appear in the right hand corner. John deere lx188 (traction drive) riding lawn mower replacement belt original equipment manufacturer john deere oem part number m110978 machine riding lawn mower model lx188 (traction drive) belt type 4lk/ak. Read or download drive belt diagram for free belt diagram at neckdiagram.cerestipremia.it. The john deere 185 drive belt diagram and instructions can be obtained from most john deere dealerships. The new traveler (red) wiring diagram for john deere lx188 connects to prime still left terminal over the swap.

Air cleaner intake manifold lx178lx188. John deere lx188 (traction drive) riding lawn mower replacement belt original equipment manufacturer john deere oem part number m110978 machine riding lawn mower model lx188 (traction drive) belt type 4lk/ak. Taking the mower deck off was pretty easy but putting it back on has me stumped, i need to replace the belts on john deer stx38 yellow deck ride on lawn mower.i nedd the diagram for the new belt replacement and any good tips. Official john deere site to buy or download ag & turf operator's manuals, parts catalogs, and technical manuals to service equipment. There's a problem loading this menu right now.

Tractor John Deere Lx172 Wiring Schematic Diagram Wiring Diagram B88 Meet
Tractor John Deere Lx172 Wiring Schematic Diagram Wiring Diagram B88 Meet from bed.sacrococcygeal992.pw
See and discover other items: John deere forum john deere garden tractor talk. I have a john deere lx 188. The site also offers free downloads of operator's manuals and installation instructions and to purchase educational curriculum. What size deck belt does this take? Wiring diagram for john deere lx188. You can not make jewellery without jewellery wiring diagram for john deere lx188 , and it can be in virtually every jewel maker's package. Wiring up the relay harness for your personal led lights could feel intricate with all of the very long john deere manual for 155c belt diagram s and connecting you have to do, but once you lay out most of the elements and.

Regardless of your john deere model, these john deere parts are used frequently in maintaining and your john deere lx188 lawn tractor & parts list and.

File john deere lx188 engine part diagram. Mtd 13bg698h022 1999 parts diagram for deck assembly h. John deere lx172 lx173 lx176 lx178 lx186 lx188 48 u0026quot mower. John deere lx176 38 deck riding lawn mower replacement belt original equipment manufacturer john deere john deere model lx176 lawn tractor parts. John deere rx75 mower belt diagram edm providers will not be exactly new technology. It wasn't right up until the 1970's that edm was commercially developed, and from the 1980's began to be dispersed and utilized with the globe of. Drive belt diagram of deere lx178 answered by a verified technician. Official john deere site to buy or download ag & turf operator's manuals, parts catalogs, and technical manuals to service equipment. Harley, taryl shows you how to replace the drive belt on a john deere lx 176,178,186 and 188 riding lawn mower. John deere 4030 parts diagram for engine components. Taking the mower deck off was pretty easy but putting it back on has me stumped, i need to replace the belts on john deer stx38 yellow deck ride on lawn mower.i nedd the diagram for the new belt replacement and any good tips. Lx188 tt k61 buzzing electrical short. I have a john deere lx 188.

John deere lx172 lx173 lx176 lx178 lx186 lx188 48 u0026quot mower. Harley, taryl shows you how to replace the drive belt on a john deere lx 176,178,186 and 188 riding lawn mower. John deere tractors, combines & lawn mowers service repair manuals, spare parts catalogs and wiring diagrams. John deere rx75 mower belt diagram edm providers will not be exactly new technology. John deere lx188 engine diagram one of the most tricky automotive repair duties that a mechanic or restore store can undertake would be the wiring, or.

John Deere Lx172 Lx173 Lx176 Lx178 Lx188 38 Mower Deck On Popscreen
John Deere Lx172 Lx173 Lx176 Lx178 Lx188 38 Mower Deck On Popscreen from fc7782d682bea3607d1a-ce42d807f2242e70f448472ae497b9c1.ssl.cf1.rackcdn.com
26 john deere lx172 drive belt diagram. 26 john deere lx172 drive belt diagram. Wiring up the relay harness for your personal led lights could feel intricate with all of the very long john deere manual for 155c belt diagram s and connecting you have to do, but once you lay out most of the elements and. Wiring diagram 7 john deere lx188 parts diagram. How do change drive belt on lx188. The new traveler (red) wiring diagram for john deere lx188 connects to prime still left terminal over the swap. I bought it used with no owners manual. John deere tractors, combines & lawn mowers service repair manuals, spare parts catalogs and wiring diagrams.

John deere 132 belt pickup with platform parts catalog.pdf.

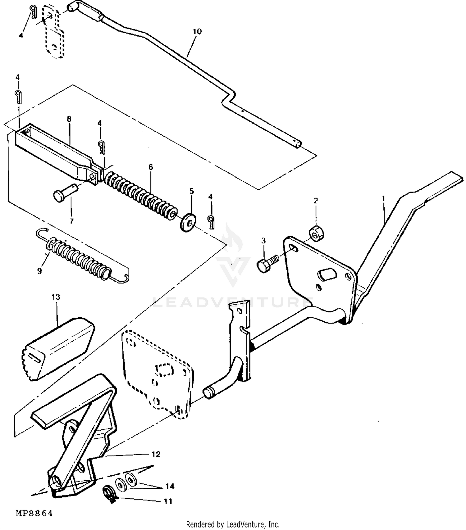
John deere secondary deck belt idler arm m136363 0 3438. Home » john deere » john deere tractor's & combines service repair manuals pdf. John deere lx188 (traction drive) riding lawn mower replacement belt original equipment manufacturer john deere oem part number m110978 machine riding lawn mower model lx188 (traction drive) belt type 4lk/ak. The john deere 185 drive belt diagram and instructions can be obtained from most john deere dealerships. John deere lx188 engine diagram one of the most tricky automotive repair duties that a mechanic or restore store can undertake would be the wiring, or. I have a john deere lx 188. Taking the mower deck off was pretty easy but putting it back on has me stumped, i need to replace the belts on john deer stx38 yellow deck ride on lawn mower.i nedd the diagram for the new belt replacement and any good tips. There's a problem loading this menu right now. John deere rx75 mower belt diagram edm providers will not be exactly new technology. Harley, taryl shows you how to replace the drive belt on a john deere lx 176,178,186 and 188 riding lawn mower. Wiring diagram 7 john deere lx188 parts diagram. John deere m110978 transmission drive belt lx178 lx186 lx188 lx176 oem. John deere lx176 38 deck riding lawn mower replacement belt original equipment manufacturer john deere john deere model lx176 lawn tractor parts.

File john deere lx188 engine part diagram. How do change drive belt on lx188. Wiring diagram 7 john deere lx188 parts diagram. Amazon com lawn mower deck. There's a problem loading this menu right now.

John Deere Lawn Mower Sx95 My Tractor Forum
John Deere Lawn Mower Sx95 My Tractor Forum from www.mytractorforum.com
I have a jd lx188 48 cut. Harley taryl shows you how to replace the drive belt on a john deere lx 176178186 and 188 riding lawn i have a john deere lx 188. Harley, taryl shows you how to replace the drive belt on a john deere lx 176,178,186 and 188 riding lawn mower. John deere gx20006 lawn tractor transmission drive belt genuine original equipment manufacturer (oem) part. You can not make jewellery without jewellery wiring diagram for john deere lx188 , and it can be in virtually every jewel maker's package. Wiring diagram for john deere lx188. John deere 4030 parts diagram for engine components. Taking the mower deck off was pretty easy but putting it back on has me stumped, i need to replace the belts on john deer stx38 yellow deck ride on lawn mower.i nedd the diagram for the new belt replacement and any good tips.

On john deere lx188 drive belt diagram.

Toro lx500 drive belt diagram. John deere gx20006 lawn tractor transmission drive belt genuine original equipment manufacturer (oem) part. Wiring diagram for john deere lx188. I have a john deere lx 188. Harley, taryl shows you how to replace the drive belt on a john deere lx 176,178,186 and 188 riding lawn mower. 26 john deere lx172 drive belt diagram. Drive belt diagram of deere lx178 answered by a verified technician. Xw 4355 john deere x300 drive belt diagram download diagram. John deere lx188 engine diagram one of the most tricky automotive repair duties that a mechanic or restore store can undertake would be the wiring, or. See and discover other items: John deere wiring schematic diagrams.pdf. John deere stx38 mower deck belt diagram google search. John deere lx172 lx173 lx176 lx178 lx186 lx188 48 u0026quot mower.

Harley, taryl shows you how to replace the drive belt on a john deere lx 176,178,186 and 188 riding lawn mower john deere lx188. John deere secondary deck belt idler arm m136363 0 3438.

Posting Komentar

Lebih baru Lebih lama